Модуль дискретного ввода-вывода CAN/CANOpen (на отечественных элементах)

Модуль ввода-вывода дискретных сигналов CAN/CANOpen, представляет собой устройство для работы в жестких условиях эксплуатации и применяется для приема и выдачи разовых (дискретных) команд. Применяется в составе систем управления и сбора данных  жесткого реального времени  на основе сети CAN c использование протокола CANopen (профиль DS401).

Устройство выполнено полностью на отечественных комплектующих.

Предлагаемый модуль совместим с IO Remote - СANopen DS-401.

Устройство может подключаться одновременно к двум CAN сетям, что позволяет организовать отказоустойчивую систему с резервированием каналов связи.

Внешний вид устройства:

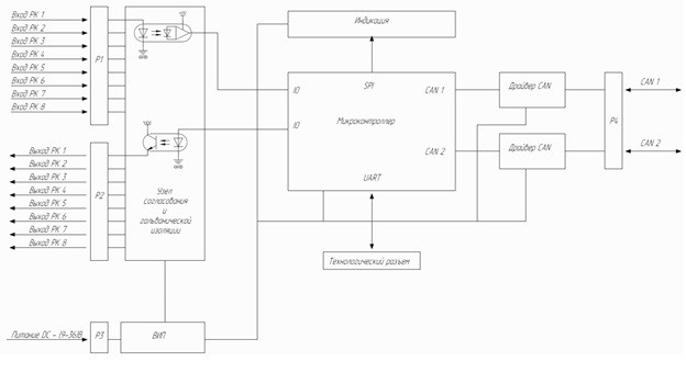
Функциональная схема устройства:

 

Основные характеристики:

  • Питание 9-36В.
  • Диапазон температур -40..+85 град.С.
  • Интерфейс CAN-bus, 2 канала, гальваническая изоляция 1000В, защита от перенапряжений и помех.
  • Протокол CANopen.
  • Дискретный выxод верхний ключ - гальваническая изоляция 1500В, защита от КЗ, встроенная защита от перегрева, коммутируемое напряжение 9-36В, ток до 1A на канал (кратковременно до 2A).
  • Дискретный вход - гальваническая изоляция 1500В, защита от перенапряжения, работа в режиме счета импульсов до 500Гц
  • Защитное покрытие плат лаком.

Основу устройства составляют микроконтроллер K1986BE92QI отечественной фирмы ЗАО «ПКК Миландр» - на основе ARM Cortex M3 архитектуры MDR32F9Q2I, который имеет встроенные порты ввода-вывода и два контроллера CAN интерфейса, а также микросхема того же производителя - драйвер сети CAN - K2011BB034, который обеспечивает гальваническую изоляцию (в соответствии с CiA DS-102) CAN-приемопередатчиков, защиту от перенапряжений и импульсных помех.

Узел согласования и гальванической изоляции обеспечивает согласование уровней разовых команд и гальваническую изоляцию входных сигналов для непосредственного подключения к портам микроконтроллера. Узел выполнен на базе оптронов и твердотельных реле завода изготовителя «АО ПРОТОН».

За отображение состояния устройства и сетей CAN отвечает узел «Индикация», состоящий из двухцветных светодиодов.

Электропитание устройства осуществляет узлом «ВИП» выполненный на базе преобразователя отечественной фирмы «АЛЕКСАНДЕР ЭЛЕКТРИК источники электропитания». Интерфейс UART используется для программирования устройства.

Два независимых интерфейса CAN c гальванической изоляцией используются для подключения к CAN сетям.

Выбранное техническое решение позволяет решить задачу построения устройства высокой надежности с приемкой «5», т.к. устройство выполнено полностью на отечественной элементной базе, которые имеют модификации с приемкой «5».

CAN драйвер канального уровня CHAI реализован для платформы Миландр 1986ВЕ9х и оптимизирован для поддержки безопасного протокола (используются дополнительные аппаратные фильтры входящих CAN кадров). Кроме того, поддерживается режим «холодного» резервирования для двухканального CAN контроллера в составе микросхемы 1986ВЕ9х.

Дополнительный программный модуль коммуникационного CANopen профиля реализует алгоритмы работы безопасного протокола и поддерживает логику конечного автомата EN50325-5. Коммуникационный объектный словарь дополнен объектами безопасного протокола. В то же время, функциональность прикладного профиля CiA 401 устройств цифрового и аналогового ввода-вывода не зависит от типа используемого CANopen протокола.

Устройства поставляются по предварительному заказу по спецификации заказчика на состав интерфейсов ввода/вывода.

Со склада поставляются единичные образцы с фиксированным набором интерфейсов ввода/вывода.

По всем вопросам, связанным с технической поддержкой обращайтесь по электронной почте support@marathon.ru и can@marathon.ru

По вопросам приобретения обращайтесь по тел. 495-988-27-26 или e-mail: can@marathon.ru